个人接单上门服务_附近学生200元随叫随到涪陵_24小时空降约茶快餐_全国同城免费月抛

ENGLISH
北京理工大学工会
您现在的位置是:首页 | 新闻动态

校工会日常慰问、健康保险等启动线上办理

为简化办事流程,提高办事效率,助推智慧北理建设,在网络信息技术中心的大力支持下,校工会对工会会员日常慰问申请、在职职工重大疾病互助保障险申请、在职女职工特殊疾病互助保障险申请、会费缴纳等业务网上申办流程进行了开发设计,经反复测试优化,目前上线试运行。

一、服务亮点

自选时间,方便灵活,可全天24小时随时办理。

节省精力,高效便捷,可有效减少流程等待时间。

二、办理事项

可办理事项包括:

1.工会会费缴纳

2.工会会员日常慰问申请

3.工会会员入会

4.在职职工重大疾病互助保障险申请

5.在职女职工特殊疾病互助保障险申请

三、操作指南

除“工会会员日常慰问” 申请需通过登录“智慧北理统一门户

(i.bit.edu.cn)” 网站办理外,其他办理事项既可以通过登录“智慧北理统一门户”网站办理,又可以登录“i北理”APP办理。

方法一. 智慧北理统一门户(i.bit.edu.cn)办理

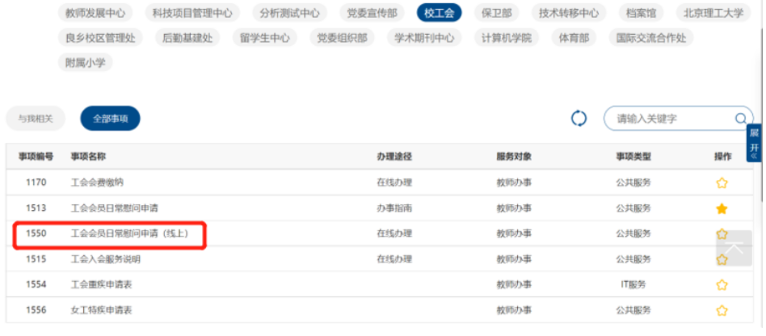
1.登录“智慧北理统一门户”,点击“幸福北理”。

2.打开新的页面,在“所属部门”选择“校工会”。


       3.在“事项名称”列选择您要办理的事项,我们以“工会会员日常慰问申请(线上)”为例来示范。点击“工会会员日常慰问申请(线上)”

4.打开新页面,出现“工会会员日常慰问申请表”,在下拉项中选择慰问理由,并上传相应附件:会员结婚请上传“结婚证复印件”;会员符合政策生育请上传“孩子出生证明复印件”;患病住院手术请上传“诊断证明书或者手术记录”;会员父或母去世、会员配偶或子女去世以及会员本人去世,请上传“死亡证明或销户证明”(本项也可以用简短文字描述出生日期、离世时间等基本信息替代死亡或销户证明)。

5.申请表填完后,点击“提交”,进入下一个流程“工会主席审批”,申请成功。

方法2. i北理app办理

1.登录“i北理”APP,进入“幸福北理服务大厅”。



2.在“公共服务”部分选择您要办理的事务类型,我们以“在职职工重大疾病互助保障险申请”为例来示范。点击“会员重疾险申请表”,依次根据要求据实填写。



      3.填写完后可以点击“表单预览”查看所填信息是否有遗漏或错误,信息准确无误的情况下,回到“填写表单”页面,点击“下一步(流程)”,打开一个新页面,在新页面点击“提交”即可。


   温馨提示

      如在使用过程中遇到问题或者有任何意见建议,欢迎致电010-68913067。

校工会

2023年2月16日